Walizka jak inwestycja? Po latach niektóre bagaże mogą być warte fortunę

Dla części pokolenia Z droga walizka stała się ważniejsza niż torebka luksusowej marki. Bagaż można traktować także jak inwestycję - dosłownie. Niektóre walizki i kufry po latach znajdują nowych nabywców za kolosalne kwoty.

Walizki i kufry po latach mogą zyskać na wartościWalizki i kufry po latach mogą zyskać na wartości
Źródło zdjęć: © Getty Images | Peter Dazeley
Marcin Walków

Jedni mówią o walizce jako inwestycji, gdy mają na myśli długi okres jej użytkowania i odporność na upadki oraz inne "przygody", jakie bagaż napotka podczas podróży przez lotniska. Są jednak i takie, które można traktować jako inwestycję alternatywną. Bo - podobnie jak biżuteria czy zegarki - z czasem mogą zyskać na wartości.

Obok popularnych marek - Wittchen, Puccini, American Tourister czy z wyższej półki Samsonite lub Tumi - są i takie marki modowe, których walizki, torby oraz kufry w niemal naturalny sposób kojarzą się z luksusem. To przede wszystkim Louis Vuitton, Hermès, Montblanc, Globe-Trotter.

Dalsza część artykułu pod materiałem wideo

Podczas lotu uszkodzili nam walizkę. Oto czego możemy się domagać od przewoźnika

Jednak o wartości obiektu bardzo często decyduje także historia jego właściciela. Ciekawym przykładem jest słynna aukcja kolekcji Elizabeth Taylor, która miała miejsce w domu aukcyjnym Christie's w 2011 r. Pod młotek trafił wtedy zestaw walizek Alzer i Boite Pharmacie marki Louis Vuitton - mówi money.pl Agata Szkup, prezes Desa Unicum.

Przypomina, że początkowo wartość tego zestawu szacowano na 3-5 tys. dol. Licytacja zakończyła się kwotą 110 tys. 500 dol.

- Z kolei we wrześniu minionego roku w londyńskim Sotheby’s wystawiono zestaw sześciu walizek należących do Freddiego Mercury'ego, których wartość estymowano poniżej 2 tys. funtów. Zwycięzca licytacji zapłacił za nie ponad 15 tysięcy funtów - dodaje Agata Szkup.

Przykładów cennych walizek nie trzeba szukać daleko za granicą. - W 2013 r. na aukcji Sztuki Dawnej w Desa Unicum wystawiliśmy cztery kufry należące do Ignacego i Heleny Paderewskich. Wszystkie zakupiło Muzeum Narodowe w Warszawie za łączną kwotę blisko 80 tys. zł, korzystając z prawa pierwokupu. Każdy z obiektów znacząco przekroczył górne granice estymowanej wartości - wylicza prezeska domu aukcyjnego.

Można je zobaczyć na poniższych zdjęciach. Brązowy kufer Ignacego Paderewskiego po otwarciu stawał się garderobą. Zielony kufer należał do Heleny Paderewskiej.

  • Kufry Paderewskich
  • Kufry Paderewskich
  • Kufry Paderewskich
[1/3] Kufry Paderewskich Źródło zdjęć: materiały prasowe | Marcin Koniak

Walizka jako element stylu życia

Jesienią ubiegłego roku "Rzeczpospolita" pisała, że wśród przedstawicieli pokolenia Z droga torebka znanej marki przestaje być wyznacznikiem statusu. "Wraz z rosnącą potrzebą podróży pojawia się nowy atrybut, który ma pokazać przynależność do elitarnej grupy społecznej" - napisano. To właśnie walizki, zwłaszcza te z górnej półki.

Tytuł najdroższej walizki świata należy do produktu stworzonego przez ST Luxury, francuską firmę z Tuluzy, na co dzień wytwarzającą między innymi komponenty do samolotów produkowanych w pobliskich zakładach Airbusa. Walizka kosztuje około 35 tys. euro i powstaje wyłącznie na zamówienie.

Instagram w ostatnich latach pełny jest postów z lotniska lub podróżniczej destynacji, w których pierwszoplanową rolę gra droga walizka - nierzadko droższa niż bilety lotnicze lub wycieczka u touroperatora. Ikoniczną marką, która zyskała uznanie także wśród pokolenia Z, jest niemiecka Rimowa. W 2016 r. Rimowa została przejęta przez koncern LMVH, do którego należą takie marki jak Louis Vuitton, Dior czy Gucci.

Jej znak rozpoznawczy to aluminiowe, klasycznie wyglądające walizki na kółkach z charakterystycznym żebrowaniem. Bardziej pojemne kosztują nawet więcej niż wynosi średnia krajowa w Polsce.

Aluminiowe walizki pojawiły się też w ofercie innych producentów, takich jak choćby polskie marki Puccini czy Wittchen. Producenci premium zaś decydują się na kolekcje sygnowane przez modowe marki, czego przykładem są aluminiowe kufry Samsonite we współpracy z Boss.

Jeszcze jeden aspekt pozwala traktować drogie walizki jako pewnego rodzaju inwestycję. Używane markowe walizki na portalach ogłoszeniowych można znaleźć w kwotach niewiele niższych niż te w sklepach.

Walizka na kółkach ma zaledwie 50 lat

Trudno uwierzyć, że walizka na kółkach - dziś tak powszechna i łatwo dostępna - została wynaleziona dopiero na początku lat 70. XX wieku. Wcześniej bagaż trzeba było nosić w rękach: w postaci walizek i ciężkich kufrów. Dlatego bagażowi na dworcach, lotniskach i w hotelach jako profesja mieli się bardzo dobrze.

Przemieszczaniu się z kilkoma kuframi walizkami i torbami służyły wózki bagażowe, do dziś dostępne na lotniskach.

Zdjęcie z lotniska Amsterdam-Schiphol z 1976 r.
Zdjęcie z lotniska Amsterdam-Schiphol z 1976 r. © Getty Images | HUM Images

Bernard D. Sadow miał doznać olśnienia, wracając z wakacji na Arubie. Gdy sam męczył się z walizkami, zobaczył pracownika lotniska, prowadzącego walizki ułożone jedna na drugiej na platformie. Dlaczego więc nie wyposażyć walizki w kółka? Zamontował cztery kółka do postawionej na dłuższym boku walizce i doczepił pasek.

"The New York Times" w artykule z 2010 r. przypomniał, że wynalazek Sadowa nie od razu wzbudził zainteresowanie rynku. Pierwsze egzemplarze pojawiły się w sprzedaży dopiero półtora roku później. W 1972 r. uzyskał patent na swój wynalazek.

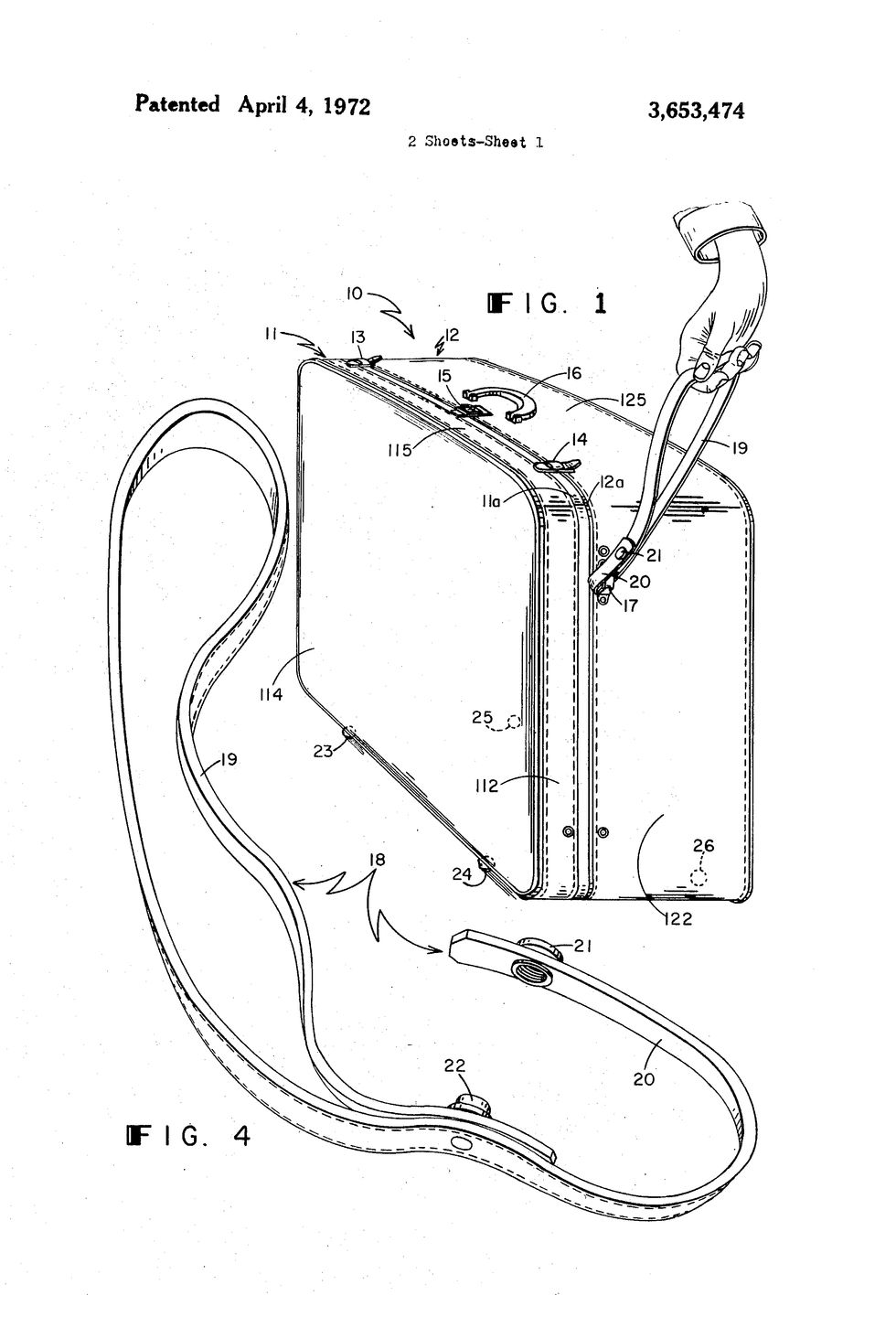
Poniżej można przyjrzeć się projektowi walizki Bernarda Sadowa. Dokumentacja patentowa pokazuje, jak małe były cztery zamontowano od spodu kółka, przez co sprawdzały się tylko na gładkiej powierzchni. Można się też domyślać, że z długim i miękkim paskiem była dość wywrotna. Mimo wszystko, była to jednak epokowa zmiana w przemieszczaniu się po coraz większych lotniskach. Lata 70. były czasem wielkiej rewolucji w lotnictwie, w której swój udział miał Boeing 747.

  • Projekt walizki na kółkach Bernarda Sadowa wg dokumentacji patentowej z 1972 r.
  • Walizka Sadowa
[1/2] Projekt walizki na kółkach Bernarda Sadowa wg dokumentacji patentowej z 1972 r. Źródło zdjęć: Google.com | U.S. Patents

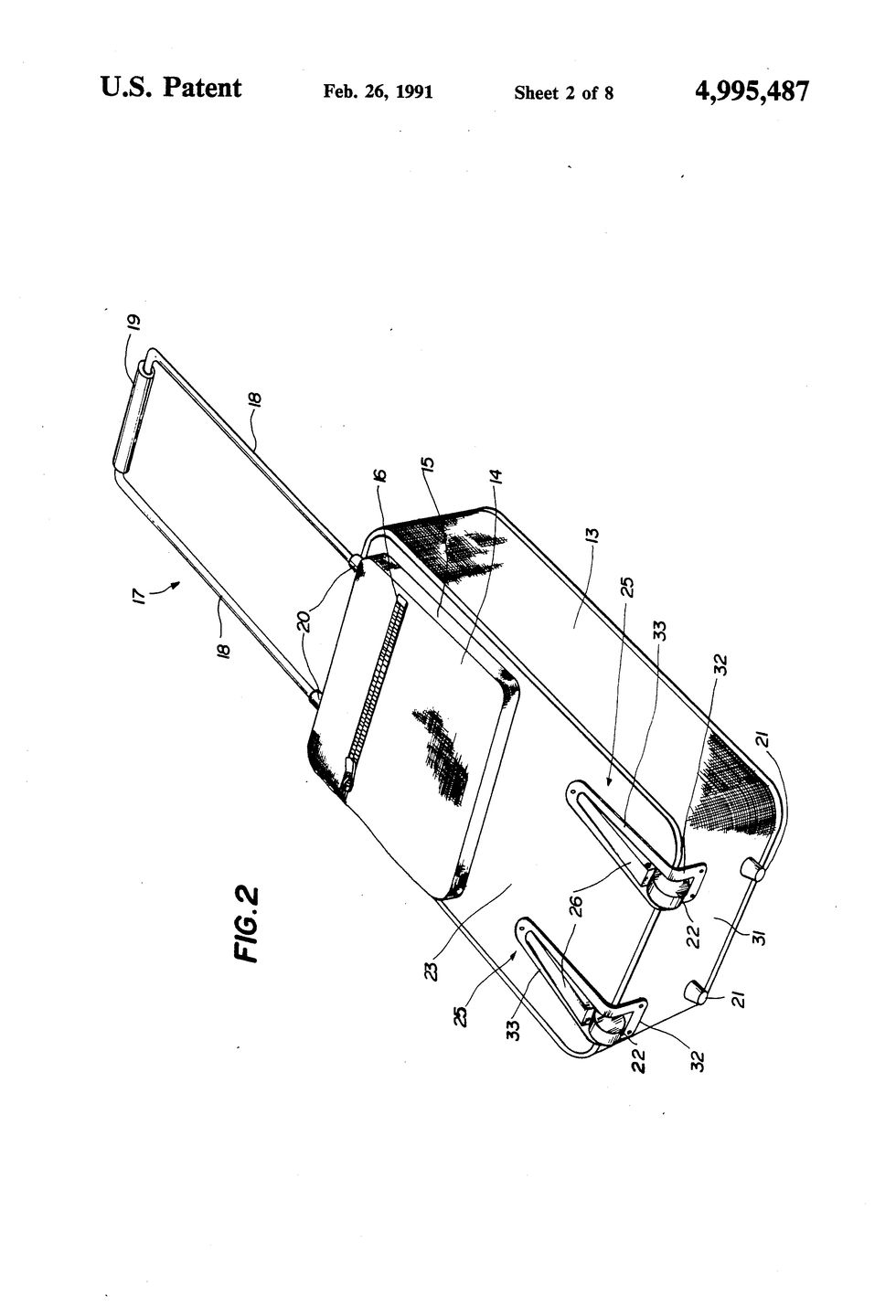
Walizka na większych kółkach, z teleskopową rączką i postawiona pionowo pojawiła się dopiero 15 lat po wydanym patencie dla Bernarda Sadowa. Tym razem był to - jak przypominała dwa lata temu "Gazeta Wyborcza" - wynalazek Roberta Platha, pilota amerykańskich linii Northwest Airlines, a prywatnie zapalonego majsterkowicza. Nazwał ją rollaboard. To właśnie jego wynalazek dał początek takim walizkom, jakie znamy dziś.

Jego pierwszymi klientkami i klientami byli koledzy i koleżanki po fachu.

"Jest rok 1987. Gdy pasażerowie widzą, jak szybko stewardesy i piloci przemieszczają się po olbrzymich terminalach ze swoimi rollaboardami, żądają tego samego. W ciągu kilku lat Plath odchodzi z linii lotniczych, by założyć Travelpro International" - czytamy. Marka ta jest obecna na rynku do dzisiaj.

Projekt walizki Rollaboard Roberta Platha wg dokumentacji patentowej
Projekt walizki Rollaboard Roberta Platha wg dokumentacji patentowej © Google.com | U.S. Patents

Walizki na kółkach po 50 latach historii wciąż się zmieniają. Również w kwestii materiałów - obok twardego i taniego, lecz podatnego na pęknięcia ABS, jest bardziej elastyczny polipropylen albo poliwęglan.

Pojawiły się tzw. kabinówki z portami USB do ładowania smartfonów w biegu, inni producenci montują w nich wbudowane pokrowce na garnitur albo rozkładane lekkie stoliki na laptopa, umożliwiające pracę w oczekiwaniu na samolot.

Inwencję producentów wymuszają też tanie linie lotnicze, które jak mogą, starają się ograniczyć wymiary bagażu zabieranego na pokład samolotu w cenie biletu. Wygląda na to, że ewolucja walizki kabinowej jeszcze się nie skończyła.

Marcin Walków, dziennikarz i wydawca money.pl

Źródło artykułu: money.pl
Wybrane dla Ciebie
Koniec świata stabilności? Trump atakuje Fed coraz mocniej [OPINIA]
Koniec świata stabilności? Trump atakuje Fed coraz mocniej [OPINIA]
Trump odwołał cła i wykluczył agresję ws. Grenlandii. Giełda w USA wystrzeliła
Trump odwołał cła i wykluczył agresję ws. Grenlandii. Giełda w USA wystrzeliła
Wzrost inflacji w Rosji. Najbardziej podrożała żywność
Wzrost inflacji w Rosji. Najbardziej podrożała żywność
90 mld euro pożyczki dla Ukrainy. Europarlament dał zielone światło
90 mld euro pożyczki dla Ukrainy. Europarlament dał zielone światło
Jest zwrot Trumpa. "Nie będę nakładać ceł, które miały wejść w życie 1 lutego"
Jest zwrot Trumpa. "Nie będę nakładać ceł, które miały wejść w życie 1 lutego"
Europarlament broni praw pasażerów linii lotniczych. Postuluje bezpłatny mały bagaż
Europarlament broni praw pasażerów linii lotniczych. Postuluje bezpłatny mały bagaż
Ile kosztuje euro? Kurs euro do złotego PLN/EUR 21.1.2026
Ile kosztuje euro? Kurs euro do złotego PLN/EUR 21.1.2026
Ile kosztuje frank szwajcarski? Kurs franka do złotego PLN/CHF 21.1.2026
Ile kosztuje frank szwajcarski? Kurs franka do złotego PLN/CHF 21.1.2026
Ile kosztuje funt? Kurs funta do złotego PLN/GBP 21.1.2026
Ile kosztuje funt? Kurs funta do złotego PLN/GBP 21.1.2026
Ile kosztuje dolar? Kurs dolara do złotego PLN/USD 21.1.2026
Ile kosztuje dolar? Kurs dolara do złotego PLN/USD 21.1.2026
Zwolnią ponad 700 osób. W zakładzie wrze. Jest reakcja
Zwolnią ponad 700 osób. W zakładzie wrze. Jest reakcja
Krok wstecz ws. Rail Baltiki. Powrót do oceny ofert. W grze miliardy złotych
Krok wstecz ws. Rail Baltiki. Powrót do oceny ofert. W grze miliardy złotych